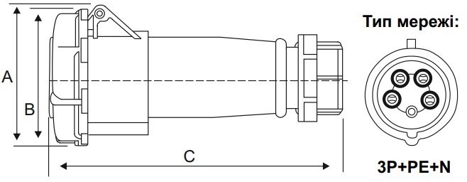
Розетка штепсельна силова 2252 PRO переносна 3Р+PЕ+N 32А 380В IP67 товарного знаку Techno Systems промислового призначення – використовується для експлуатації в одно- та трифазних мережах змінного струму напругою до 415 В.
Область застосування з’єднувачів: для експлуатації всередині приміщень та на відкритому повітрі з мобільним та стаціонарним електрообладнанням однофазного та трифазного виконання із заземлюючим контактом, а також виконання з нейтраллю (залежно від типовиконання з’єднувача).
З’єднувачі розраховані на такі умови експлуатації:
– діапазон робочих температур від -25°C до +40°C;
– відносна вологість повітря не більше 98%
Виріб відповідає стандартам: ДСТУ EN 60309-1
Переваги:
- Корпус і ізолюючі деталі, а також несучі струмопровідні частини силового роз’єму виконані з матеріалів, що самозагасають.
- Кришка добре закріплена, забезпечує захист від попадання пилу та вологи всередину роз’єму.
- Пружини захищені від корозії
- Гвинти, що застосовуються для механічних та електротехнічних з’єднань, захищені від самовідгвинчування.
- Можливість експлуатувати у вологому середовищі (IP67).
- Наявність спеціального сальника для кабелю різного перерізу.
Технічні характеристики:
Найменування параметру |
Значення |
Тип монтажу |
переносний |
Кількість контактів |
3P+N+PE |
Номінальний струм, А |
32 |
Номінальна частота мережі, Гц |
50 |
Діапазон номінальної робочої напруги, В~ |
200/346, 240/415 |
Номінальна напруга по ізоляції, В |
500 |
Максимальний переріз провідників, що підключаються, мм² |
2,5-10 |
Положення заземлювального контакту |
6 г. |
Ступінь захисту |
IP67 |
Фіксуючий пристрій |
кришка з байонетним кільцем |
Наявність блокування |
з блокуванням |
Температура експлуатації, °С |
від -25°C до +40°C |
Срок служби, років |
15 |
Гарантійний термін, років |
2 |
Габаритні розміри, мм:
